找回密碼
 立即注册
『杏彩系列 KGame 意昂5 』溫馨提醒您 距离 2026 美 加 墨 世 界 杯 还有
000
:
00
:
00
:
00
查看: 134|回復: 9

百家乐赚了个200多块

[複製鏈接]
發表於 2014-4-4 19:24 | 顯示全部樓層 |閱讀模式

註冊論壇會員,發現更多精彩

您需要 登錄 才可以下載或查看,沒有賬號?立即注册

×
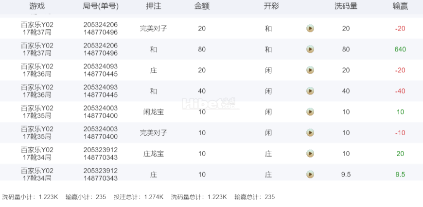
这个要盈利点还是非常的不容易的,前面也是输了几百块了,一直在等有什么机会可以中一个高赔的,好在运气还是不错的,最后靠着中了一手80的和,一下子才中了才把前面输的给赢回来,真是赢的惊险了。

                               
登錄/註冊後可看大圖

060242fbg07dtvfysf93y0.png

060242fbg07dtvfysf93y0.png
061308e4g08p8ok4g8x0xp.png
海燕策略論壇,迴歸福利不斷
發表於 2014-4-4 19:50 | 顯示全部樓層
赢钱也是替楼主开心吧
海燕策略論壇,迴歸福利不斷
發表於 2014-4-4 20:10 | 顯示全部樓層
赚了钱是很开心了啊
海燕策略論壇,迴歸福利不斷
發表於 2014-4-4 20:31 | 顯示全部樓層
楼主的百家乐玩的非常的理想
海燕策略論壇,迴歸福利不斷
發表於 2014-4-4 20:36 | 顯示全部樓層
赚了钱是很开心了啊能够搞定了盈利了,就不错了
海燕策略論壇,迴歸福利不斷
發表於 2014-4-4 20:49 | 顯示全部樓層
可以赚到这么多钱,也是比较不错的。
海燕策略論壇,迴歸福利不斷
發表於 2014-4-4 21:18 | 顯示全部樓層
能够搞定了盈利了,就不错了那也是很开心的一个结果了。
海燕策略論壇,迴歸福利不斷
發表於 2014-4-4 21:36 | 顯示全部樓層
赚了个200多块也是可以
海燕策略論壇,迴歸福利不斷
發表於 2014-4-4 21:44 | 顯示全部樓層
那也是很开心的一个结果了。这样的结果也是开心
海燕策略論壇,迴歸福利不斷
發表於 2014-4-4 22:12 | 顯示全部樓層
所以说百家乐能赚钱真的是非常舒服的
海燕策略論壇,迴歸福利不斷
您需要登錄後才可以回帖 登錄 | 立即注册

本版積分規則

📢 重要聲明

服務條款

本討論區是以即時上載留言的方式運作,論壇對所有留言的真實性、完整性及立場等,不負任何法律責任。 而一切留言之言論只代表留言者個人意見,並非本網站之立場,用戶不應信賴內容,並應自行判斷内容之真實性。 於有關情形下,用戶應尋求專業意見(如涉及醫療、法律或投資/博彩等問題)。 由於本討論區受到「即時上載留言」運作方式所規限,故不能完全監察所有留言,若讀者發現有留言出現問題,請聯絡我們。 論壇有權刪除任何留言及拒絕任何人士上載留言,同時亦有不刪除留言的權利。 切勿撰寫粗言穢語、誹謗、渲染色情暴力或人身攻擊的言論,敬請自律。嚴禁直接以名稱公開批評任何機構或人士,或指名道姓地公開批評任何人仕、機構、公司。 嚴禁干擾或破壞本服務或與本服務相連線之伺服器和網路,破壞正常的對話流程、造成螢幕快速移動,或使本服務其他使用者無法打字,或對其他使用者參加即時交流的能力產生負面影響。 本網站保留一切法律權利。

廣告合作

你於本服務或經由本服務與廣告商進行通訊或商業往來,或參與促銷活動,包含相關商品或服務之付款及交付,以及前開交易其他任何相關條款、條件、保證或陳述,完全為你與前開廣告商之間之行為。 前開任何交易或前開廣告商出現於本服務所生之任何性質的損失或損害,你同意論壇不予負責。

📄 請點擊查看免責權聲明及重要事項

文章及附件由海燕策略研究論壇會員製作,以共享創意署名-非商業性-禁止衍生3.0通用版授權條款釋出。
授權條款所屬的司法管轄領域(通用版),上文連接是一份普通人可以理解的法律文本(許可協議全文)的概要。
© 海燕策略研究論壇 All Rights Reserved.

Archiver|手機版|小黑屋|*海燕策略研究論壇*

GMT+8, 2026-4-12 10:59 , Processed in 0.069579 second(s), 20 queries .

*海燕策略研究論壇*

© 2006-2026 All Rights Reserved.

快速回復 返回頂部 返回列表